水流從進口到出口均沿軸向流動的反擊式水輪機。貫流式水輪機是軸流式水輪機在低水頭下發展起來的一種形式,通常為臥式布置,沒有蝸殼,用引水管將水直接引向水輪機。由于水流順直,與常規軸流式水輪機相比,貫流式水輪機過流量大,效率和比轉速較高;可比立式機組節約土建費用10%~20%,但機組所需鋼材較多。
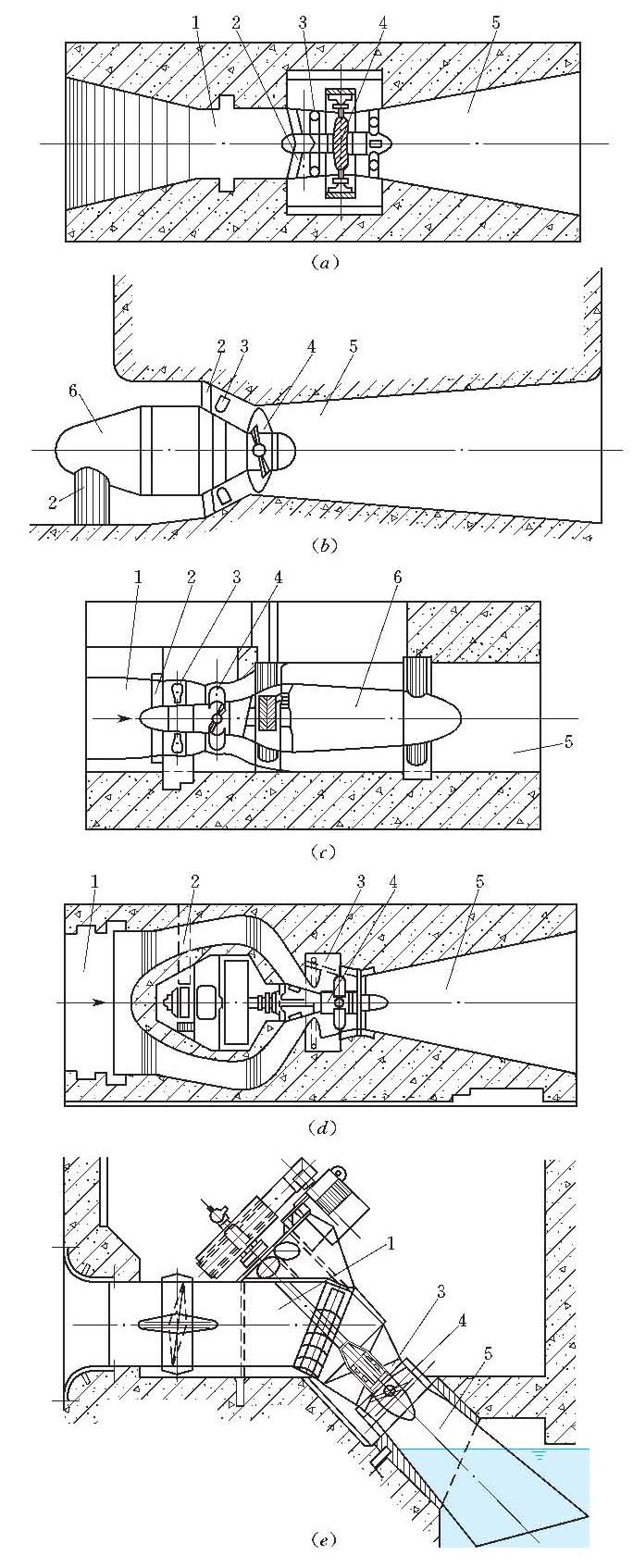
貫流式水輪機根據轉輪與發電機布置的方式,分成全貫流和半貫流兩類。全貫流式水輪機見圖(a),是將發電機轉子直接裝在水輪機葉片外緣上,隨轉輪同步轉動,流道平直,結構較緊湊,但發電機密封較復雜。半貫流式水輪機分成燈泡式、豎井式、軸伸式、虹吸式、明槽式等。后兩種形式主要用于小型水電站。燈泡式的發電機裝在燈泡體內,水流從燈泡體四周流入水輪機轉輪,從尾水管流出。發電機在轉輪前的,稱為前置燈泡式,見圖(b);在轉輪后的,稱為后置燈泡式,見圖(c)。為了減小發電機和燈泡體的尺寸,
常在水輪機和發電機之間裝設增速齒輪。豎井式的發電機裝在通入廠房的豎井內,見圖(d),主要優點是節省燈泡體的鋼材,發電機的通風與維護檢修較方便,但機組段和廠房的尺寸增大,流道的水力條件要差些。軸伸式見圖(e)。貫流式水輪機的導水機構為圓錐形,比常規的導水機構加工復雜。

貫流式水輪機結構圖
(a)全貫流式;(b)前置燈泡式;(c)后置燈泡式;(d)豎井式;(e)軸伸式1—引水道;2—支柱;3—導水機構;4—轉輪;5—尾水管;6—燈泡體
世界上各類最大的貫流式水輪機見表。
世界上最大貫流式水輪機基本指標

中國在20世紀90年代后,燈泡貫流式水輪機得到了較大發展。容量最大的是京南水電站,水輪機額定出力35.4 MW,最大出力37.5 MW,轉輪直徑6.3 m,最大水頭14.5 m。轉輪直徑最大的為王甫洲水電站,為7.2 m,水輪機額定出力28.1 MW,最大水頭10.3 m。還開發了適用于潮汐電站的雙向燈泡貫流式水輪機,最大的為江廈潮汐試驗電站,水輪機轉輪直徑2.5 m,額定出力(正向)773 kW。