面輪廓度注法(GB/T15754—1995)
|
注法
|
圖????????????例
|
|
|
圖 樣 上 標 注
|
說 明
|
|
|
給定圓錐角的圓錐公差注法
|
![]() |
![]() |
|
給定錐度的圓錐公差注法
|
![]() |
![]() |
|
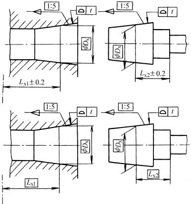
給定圓錐軸向位置的圓錐公差注法
|
![]() |
![]() |
|
給定圓錐軸向位置公差的圓錐公差注法
|
![]() |
![]() |
|
與基準線有關的圓錐公差的注法(同時確定同軸關系)
|
![]() |
![]() |
|
相配合的圓錐公差注法
|
![]() |
標注兩個相配圓錐的尺寸及公差時,應確定:
具有相同的錐度和錐角
標注尺寸公差的圓錐直徑的基本尺寸應一致
確定直徑和位置的理論正確尺寸與兩裝配件的基準平面有關
|
|
限定條件:如給出形位公差要求和有關技術要求(如量規涂色檢驗,接觸率大于80%)等,以保證圓錐實際要素不超過給定的公差帶
|
![]() |
![]() 注:傾斜度公差帶(包括素線的直線度)在輪廓度公差帶內浮動
|
正文完












